Судовые клапанные колонки в Бустоне
Перезвоним за 15 минут
Сергей
Менеджер отдела продаж
Наши преимущества
Наши менеджеры ответят
на все вопросы и помогут быстро
оформить заказ
Вы можете воспользоваться формой обратной связи, приложить документ, изображение чертежей или воспользоваться удобным для вас мессенджером:
Описание
Судовые клапанные колонки — устройства, которые используются на судах разных габаритов с целью контроля уровня жидкости, проверки потенциалов, а также иных показателей.
Преимущества:
- точность предоставления показателей
- надежность (изделие не подвергается разного рода повреждениям и служит несколько десятилетий)
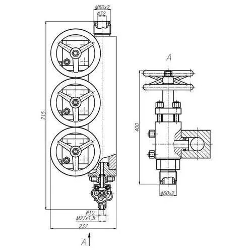
Технические характеристики
Могут быть изготовлены как из бронзы, так и из нержавеющей стали нескольких марок. Последнее сырье применяется в производстве клапанных изделий чаще, так как наделено антикоррозийными способностями. При изготовлении колонок клапанных учитываются параметры:
- материал, который должен применятся в тех или иных условиях
- масса будущего изделия
- разновидность среды, что будет измеряться
- рабочее давление
Изделия различаются по количеству и типу клапанов, что наделяет их схожими параметрами и функциями, но материал изготовления может отличаться. Все изделия обладают:
- DN в 32/10 мм
- PN в 400 кгс/см²
- средой обитания в виде осушенного воздуха
Колонка клапанная с двумя запорными и одним запорным концевым клапаном производится из бронзы. Изделие с тремя запорнымипроходными дистанционно-управляемых выпускаются из нержавеющей стали. Колонка с тремя запорными и одним запорным концевым клапаном изготавливается только из бронзы. Для колонки, где расположены восемь запорных клапанов, четыре невозвратно-управляемых и один запорный концевой, применяется нержавеющая сталь. Пятиклапанная запорная многоходовая коробка с электромагнитными приводами изготавливается из нержавеющей стали. По методу соединения всех элементов, клапанная система разделяется на:
- запорную
- контрольную
- предохранительную
- регулирующую
В каждой клапанной колонке есть несколько тарелок, что обладают формой трапеции, а также патрубки с воротниковыми фланцами. Когда производится свободная циркуляция пара, то контролируется открытие и закрытие клапанов. Когда же нагрузки изменяются, то система продолжает работать в своем постоянном режиме.